收藏本站
[登录]
企业邮箱
English
欢迎垂询:
010-59195182
首页
关于我们
中心简介
yo米直播nba
YO米直播体育
yo米直播足球
app优米
优米娱乐有限公司官网电话是多少
YO米直播世界杯
质量管理体系认证(ISO...
yo米直播赛事
食品安全管理体系认证(F...
危害分析与关键控制点(H...
YO米直播NBA最新消息
职业健康安全管理体系认证...
nba优米在线观看
宠物友好管理体系认证
碳管理体系认证
nba优米直播
良好农业规范认证(Chi...
良好农业规范认证(水产类...
农场动物福利认证
鸡蛋类产品认证
产品碳中和认证
产品碳足迹认证 畜禽养...
富硒产品认证
A2型β-酪蛋白生牛乳产...
负责任甄选产品认证 鳄类
水产养殖调水用品产品认证
nba优米直播
国际认证
FAMI-QS认证
GMP+认证
GlobalGAP 全球...
BRCGS食品安全全球标...
IFS 国际食品标准
KOF-K Kosher...
HALAL认证
进出口注册
进口饲料和饲料添加剂 初...
进口饲料和饲料添加剂 续...
进口饲料和饲料添加剂 变...
进口食品境外生产企业注册
出境饲料企业海关注册登记
出口宠物食品目的国注册登...
农业转基因生物安全产品注...
宠物食品标签业务
宠物食品新原料申报
FDA认证注册
更多
培训服务
6S现场管理培训
质量管理体系ISO 90...
食品安全管理体系ISO2...
危害分析与关键控制点体系...
环境管理体系 ISO14...
职业健康安全管理体系IS...
FAMI-QS(vers...
GMP+饲料认证体系标准...
BRCGS全球食品安全标...
IFS国际食品标准(第八...
更多
技术服务
宠物食品工厂精细化经营管...
温室气体盘查服务
饲料和饲料添加剂企业生产...
出口饲料和饲料添加剂相关...
《饲料质量安全管理规范》...
验厂服务
新闻中心
中心动态
行业资讯
宠物专栏
优米体育官网下载app
客户风采
公开文件
诚信承诺书
公正声明
申证须知
权利义务
认证流程
认证规则
收费标准
证书使用
证书样本
认证管理
申诉投诉
资源中心
文件下载
基础知识
法律法规
中心刊物
境外标准
在线课堂
悠米游戏
在线咨询
在线申请
在线投诉
体系证书查询
培训证书查询
在线调查
联系我们
企业微博
企业微信
联系方式
当前位置:
首页
>>
新闻中心
>>
行业资讯
>>
查看详情
关于我们
优米娱乐有限公司官网电话是多少
新闻中心
中心动态
行业资讯
宠物专栏
优米体育官网下载app
客户风采
公开文件
资源中心
悠米游戏
联系我们
行业资讯
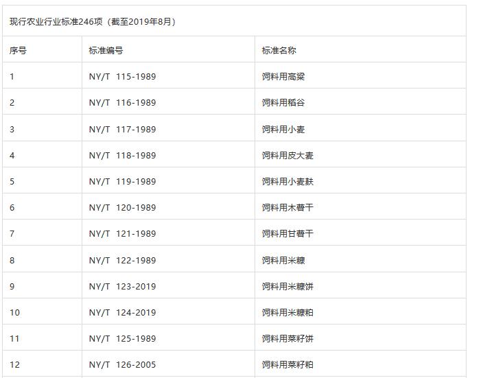
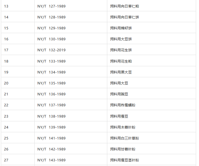
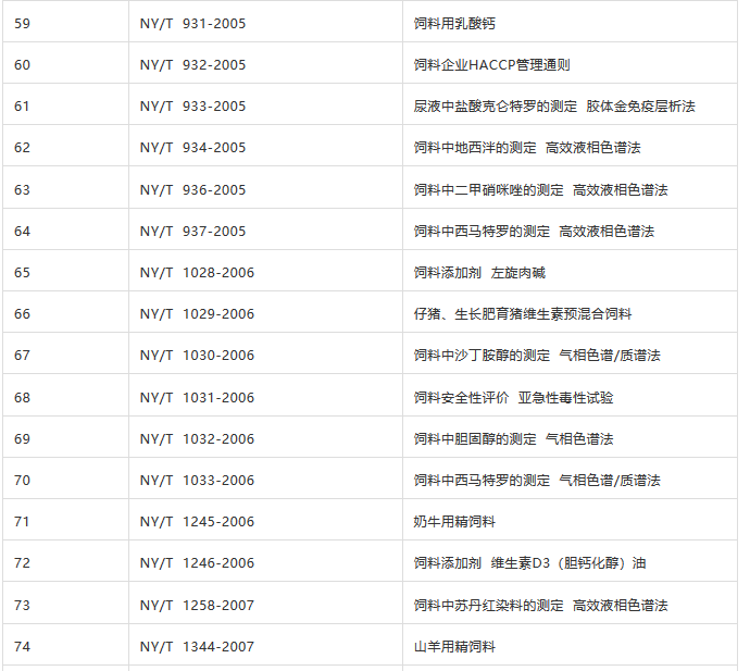
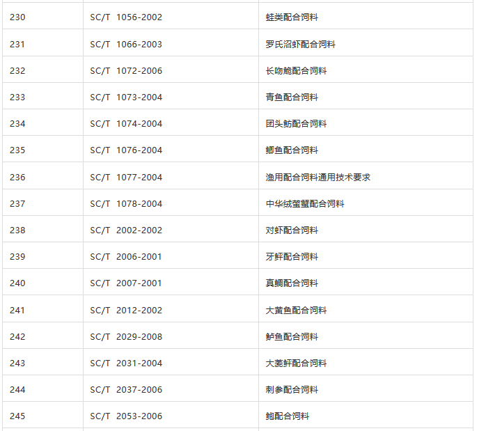
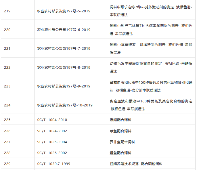
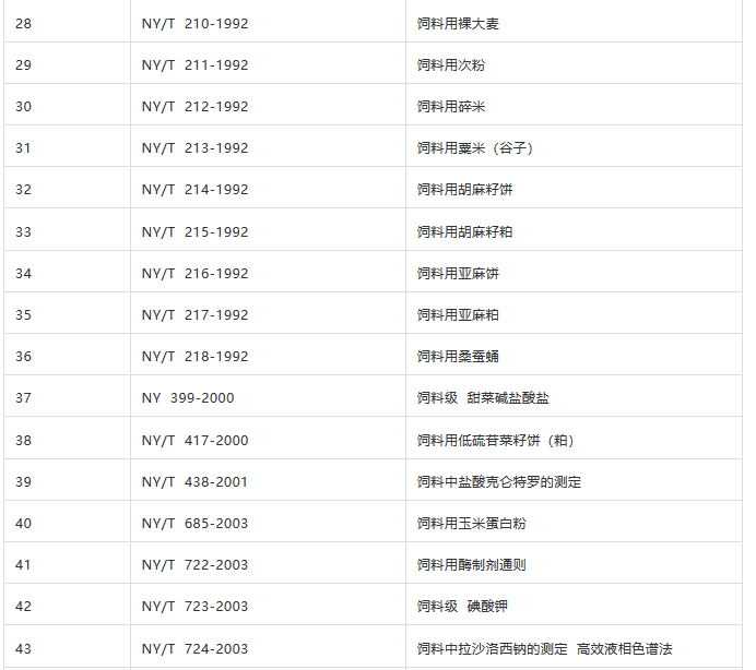
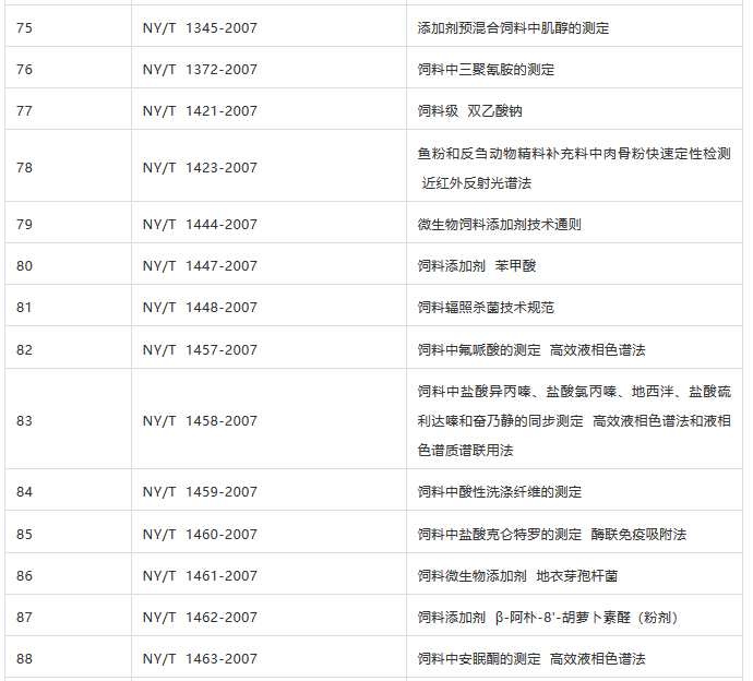
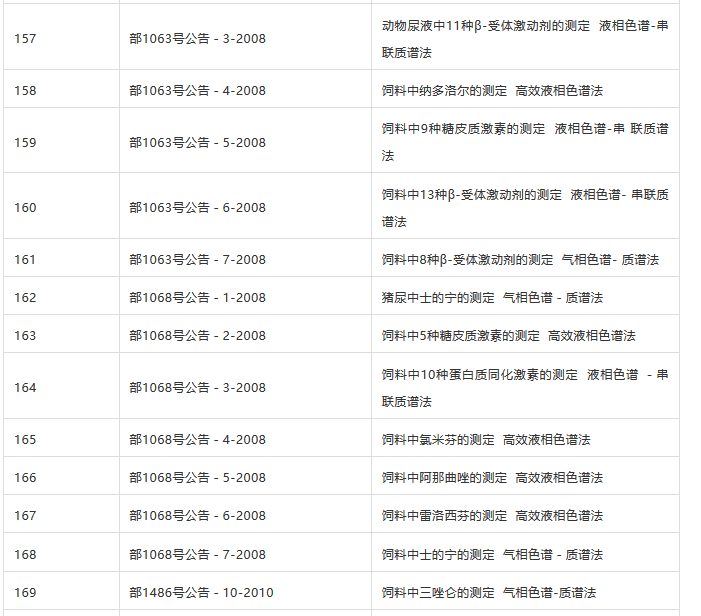
现行农业行业(饲用)标准246项
来源:
优米直播app会员账号
日期:
2020-06-29 10:42:02
点击:
1710
属于:
行业资讯
返回
上一:
欧盟评估转基因玉米MZIR 098用于食品和饲料中的安全性;瑞士修订动物源性食品条例
下一:
《饲料中硝基咪唑类药物的测定 液相色谱—质谱法》等10项国家标准目录
首页
|
关于我们
|
优米娱乐有限公司官网电话是多少
|
新闻中心
|
公开文件
|
资源中心
|
悠米游戏
|
联系我们
地址 : 北京市朝阳区农展北路55号中欧中心B段408室(农业部北区 中国-欧盟农业技术合作中心) 邮政编码 : 100125
开户名称 : 优米直播app会员账号 开户账号 : 0126014170003248 开户银行 : 中国民生银行北京市和平里支行(651)
电话 : 010-59195182 / 59195183 传真 : 010-59195184 邮件 :
info@hslcs.org.cn
版权所有@
优米直播app会员账号
2022-2027
京ICP备10033091号-1
map